根據美國商標和專利局(USPTO)近日公示的清單,蘋果公司獲得了一項關于折疊屏 iPhone 的新專利,最大的亮點在于獨特的鉸鏈設計,可以實現向內、向外雙向折疊。

目前主流折疊屏手機只能實現向內或者向外單向折疊方式,而蘋果在這項專利中探索了雙向折疊方式,相關圖片如下:

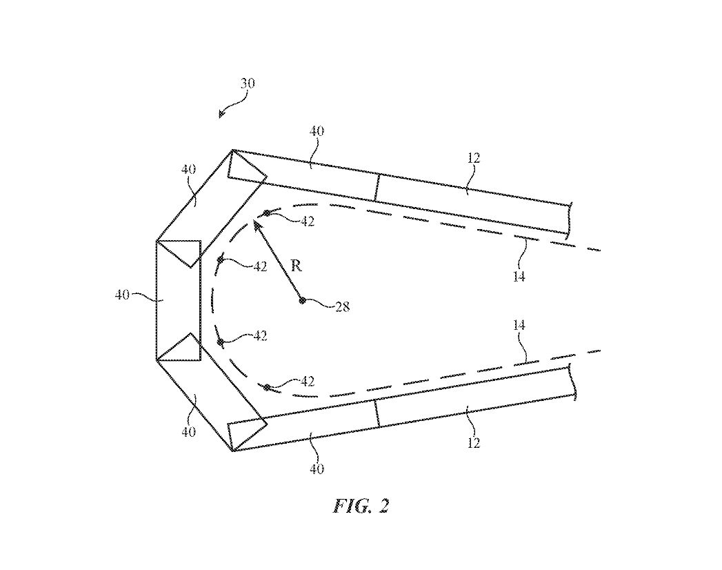
圖 2 中使用多個 #40 鉸鏈連接,然后彼此耦合以旋轉運動,讓外殼#12 的第一部分和第二部分之間串聯延伸,不過專利圖來看相鄰鉸鏈連桿的整體旋轉量可能會受到限制。

? 圖2
圖 5 中展示了齒輪狀的鉸鏈設計,齒輪板具有容納軸 #82 的開口 #84,以便齒輪板可以繞軸旋轉。外殼 (#12) 的一半繞軸 #28 旋轉時,板的配合齒使外殼的另一半同步旋轉。

? 圖5



關注我們
公眾號:china_tp
微信名稱:亞威資訊
顯示行業頂級新媒體
掃一掃即可關注我們